Taloyhtiöömme asennettiin ylimääräinen valaisin vuonna 2005 ja syksyllä 2006 oli lamppu pimeänä joten vaihtamaan uutta
lamppua valaisimeen. Poikani kiipesi vaihtamaan ja homman piti olla äärimmäisen helppo koska valaisinkupu oli saranoitu.
Mutta kas kummaa. Sähkäri oli asentanut sen saranapuoli ylöspäin jolloin kupu ei auennut koska lumisuoja otti vastaan.

Siinä yrittäessään avata valaisinta (hyvin kevyesti) kupu jäikin käteen! Kupu oli liimattu kierteisiin Sikaflexillä kuulemma siksi,
että ei ollut kupua jssa olisi sarana ja istukkaan sopivat kierteet. Sähkäri oli liimannut kierteet Sikalla kiinni muttei ollut nähnyt
sitä, että liimaa ei ollut juuri lainkaan tullut siihen kierteen osaan johon sitä olisi pitänyt tulla. Lisäksi lampussa oli suuri rako
kierreosan ja valaisimen kuvun välillä kuten tuosta kolmannesta kuvasa näkyy. Rako oli tässä tapauksessa ylhäällä.

Sähkärin kanssa juttelin sitten asiasta ja hän oli ehdottomasti sitä mieltä, että asennus on täysin laillinen. Kun itse pohdin
valaisimen IP-luokan muuttumista ja sitä, ettei valalsimen kupu ollut kestänyt irroitusta ja takaksinlaittoa niin hän sanoi, että
"Sähkölaki on aika hauska kun sitä alkaa tulkita" ja oli edelleen sitä mieltä, että asennus oli laillinen.

Sovimme sitten, että hän asentaa uuden valaisimen. Olikin sitä jo saman päivänä proppaamassa seinään ja näytti olevan
kuristimella varustettu eli elohopeahöyrylamppu oli tulossa. Sanoin, että kokeillaan nyt sitten miltä näyttää. Sähkäri siinä
sitten silmieni edessä asensi valaisimeen 125 W Hg-lampun ja kun ihmettelin miksi? (Valaisimen maksimiteho oli 50 W Hg).
Tähän sähkäri sanoi: "Kyllä se on oikein. SLO:sta antoivat lampun mukaan ja näissä lampuissa ilmoitetaan aina lampun
antoteho eikä ottotehoa". Olin kyllä itse aika lailla eri mieltä mutta niin kyseinen lamppu sitten asentui vastalauseistani
huolimatta. Lampussa kerrotaan aina sen sähköverkosta ottama teho, jotta osataan mitoittaa johtimet ja kalusteet oikein.

Illalla totesimme, että KIRKAS on. Verrattuna käytävän muihin 60 W hehkulamppuihin, oli todella valaiseva. Vastaa tuollainen
125 W Hg minun tietojeni mukaan about 370 W hehkulamppua. Tässä tapauksessa kuristin tietysti rajoittaa tehoa mutta lamppu
on joka tapauksessa äärimmäisen kuuma, samoin kuristin.

Sovimme sähkärin kanssa, että käy vaihtamassa hehkulampun tilalle.

Kaveri kertoo olleensa sähkömiehenä 15 vuotta ja vaihtaneesa tuolloin ammattia sekä olleensa uudelleenkoulutuksessa joten luulisi,
että ainakin se pitäisi tietää, että lampussa kerrotaan ottoteho eikä suinkaan "antotehoa" (sitä mitä lamppu vastaa hehkulamppuna).

Alla muutama kuva souvista joista selviää koko asennusrupeaman erikoisuus.


Tässä se vanhan lampun kupu joka oli liimattu Sikaflexillä kahdesta eri kuvusta kasaan.


Tässä kuvassa vanha valaisin josta vedettiin sähköt uudelle valaisimelle. Lähtee valaisimen alareunasta
ja nousee putken sisällä ulkoverhouksen sisään jossa kulkee vajaat 10 metriä toisen lampun päälle.



Tässä johto tulee alas verhouksen sisältä mutta putki on liian lyhyt eikä yllä verhoukseen. Putken kautta vesi
pääsee valaisimen sisälle. Miksi putki on vain pystysuorassa osassa ja tarvitaanko putkea ylipäätään?
Vastaus: ei tarvita, mutta sitä usein käytetään asennusta helpottamaan ja aikaansaamaan siistimmän ulkonäön.
Johto on niin ylhäällä maasta, ettei sitä tarvitse putkella erikseen suojata. Jos se olisi alempana, putki vaadittaisiin.



Putki kulkee lumisuojaan tehdystä aukosta läpi ja edelleen valaisimen sisään.



Valaisimen sisäänmenossa on samanlainen neliöaukko kuin lumisuojassakin.



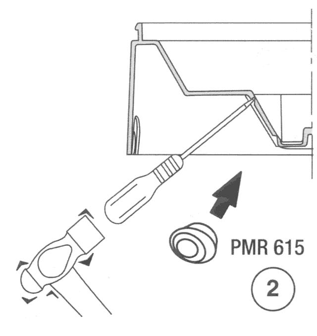
Valaisimen sisälle on laitettu pätkä muoviputkea joka tulee esiin valaisimen keskeltä. Asennusohjeen mukaista
kalvotiivistettä PMR 615 ei ole käytetty.



Valaisimen sisällä oleva metallilevy on yläreunastaan yli sentin raollaan ilmeisesti siksi, että muussa tapauksessa
liian isokokoinen lamppu ottaisi kiinni kupuun. Lisäksi lampun istukkaa on käännetty alaspäin samasta syystä. Silti
lamppu on vain parin millin päässä kuvusta.



Porauksesta syntyneet tiilenmurut lienevät aivan normaali ilmiö nopeassa asennuksessa? Itse olisin kyllä siistinyt ne pois.



Tässa muutama kuva liian isosta lampusta ja valaisimen laitteista.


Otin yhteyttä TUKES:iin josta kerrottiin, että asennuksissa on tehty virheita jotka lyhyesti lueteltuna ovat seuraavat:

- suojaputken kautta valaisimen sisään pääsee vettä
- valaisimeen on asennettu liian suuritehoinen lamppu
- valaisimen kaapeli on asennettu ilman asennusohjeessa edellytettyä läpivientitiivistettä
- valaisimen kuvun kierreosa on kiinnitetty (liimattu) siten ettei kupu kestä huoltotoimenpiteitä


Sähkömies kävi vaihtamassa elohopealampun 60 W hehkulamppuun ja annoin samalla hänelle kouraan TUKES:ilta
tulleen sähköpostin. Sähkäri kuulemma tuntee kyseisen insinöörin ja vannoi tällä kertaa, että asennusohjeen mukainen
läpivientitiiviste (kalvotiiviste) on varmasti paikallaan ja että oli aiemminkin tehnyt piuhaan lenkin alaspäin jotta vesi valuu ulos.

No, tätä lenkkiä ei kyllä aiemmin ollut eikä ole nytkään vaan johto tulee aivan suoraan ylhäältä valaisimen sisälle.
Tästä voi varmistua vetämällä johdosta jolloin näkee, että ylhäällä johto liikkuu täysin samaa rataa kuin alapäässäkin.
Lenkkiä ei voi edes tehdä koska johto on liian lyhyt. Alkupäässä johto on tuotu ulos alakautta, kuten pitääkin, mutta
tässä toisessa päässä johto onkin ilmeisesti osoittautunut liian lyhyeksi jonka vuoksi johto on tuotu yläpuolelta sisään.

Oletettavaa onkin, että sähkömies puhui johdon mutkasta valaisimen sisällä eikä ulkopuolella koska sisällä se tekee mutkan
alaspäin mutta tämähän ei estä veden pääsyä valaisimen jännitteellisiin osiin vaan lisäksi pitäisi olla läpimenotiiviste PMR 615.


Vihdoin viimein sähkäri kävi kittaamassa Sikalla aukon kiinni. Aika monta käyntiä siis tarvittiin.
Ikävää tässä on se, että asia ei olisi paljastunut, ellen olisi asiaa sattumalta huomannut.



Alla kuvaruutukaappaus kyseisen urakointiliikkeen tiedoista nimi ja osoite peitettynä. Ote kertoo, että kyseinen urakoitsija saa
tehdä vain rajoitetusti sähköasennuksia joiden perusteella tämä saa laitekorjauksen lisäksi mm. vaihtaa rikkoontuneen sähkölaitteen
tilalle vastaavan uuden laitteen sekä asentaa laitteen tai laitteiston yksittäisen syöttöjohdon asennusrasialta tai keskukselta lähtien
.





Sain jälkeenpäin tietää, että sama oman asennusliikkeen omistava sähkömies oli ollut tekemässä tässä samassa taloyhtiössä
saunaosaston sähköasennuksia. Tämän valaislinasennuksen ja saunaosaston työn teettänyt, taloyhtiömme silloinen isännöitsijä,
oli minulta kuullut tästä valaisinasennusjupakasta ja irtisanonut oman asuntonsa saunaosaston urakan sekä tilannut toisen
sähkömiehen tekemään saunaosaston sähköistyksen loppuun. Tämä sähköurakan loppuun tehnyt sähköurakoitsija oli kertonut,
että edellinen sähkömies oli tehnyt lukuisia virheitä johtojen vedossa jotka uusi sähköurakoitsija oli sitten korjannut.


Skannaus valaisimen mukana tulleesta käyttöohjeesta.